Slip Switch DH-I
Working principle:
This product is used within the working voltage range of AC220V±10%, 50Hz, the speed range is 20-999R/MIN, output state: NC type. When out of the wheel (from the disk) with the tape machine running and drive the inner pulse disk, in the pulse disk rotation sensor magnetic should signal input to the control circuit, by trigger amplification output, and then count, its count value and preset number comparison, to judge the tape belt speed, namely: normal speed, skidding speed, overspeed speed, etc.. At the same time, the corresponding switch signal is output from the execution circuit to achieve the monitoring purpose.
Installation and use:
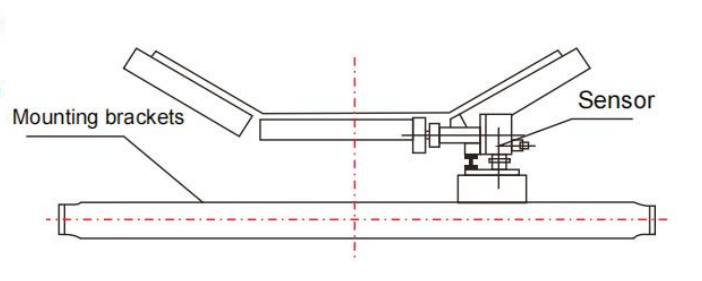
The fixed bracket is first welded to the conveyor beam; then the support arm is connected to the bracket with pins and cotter pins to meet thefollowing requirements: the slip detector device is placed in the direction Sensorof the running of the tape and the contact wheel is 200-300MM from Mounting brackets the edge of the tape.
Technical indicators:
| ltem | Parameters |
| Model | Slip switch |
| Ambient temperature | -20℃-+60℃ |
| Relative humidity | ≥85% |
| Number of contacts | 1NO 1NC |
| Belt speed | 1.6m/s Accept customize |
| Working voltage | AC220V 50Hz Accept customize |
| Output Type | Dry contact output AC 380V 5A or DC 12-50V 5A as the output is a solidstate relay, specify for DC or AC conditions(for negative or inductive loads) |


- ← Previous:Slip Switch DH- II
- Slip Switch DH- III :Next →
Zhejiang Weikesen Power Technology Co.,Ltd.
